客服热线:18251558111

用于地下水处理可渗透反应墙技术
 点击数:2893次 添加时间:2024-03-12 [打印] [返回] [收藏]

摘要

    一种用于地下水处理的可渗透反应墙装置,包括:沿地下水流向依次设置的进水箱、可渗透反应箱及出水箱,且进水箱、可渗透反应箱及出水箱之间设置有网状格栅;进水箱相对可渗透反应箱另一侧壁上设有进水口,顶部设取样口;可渗透反应箱内设反应介质层,所述反应介质层包括沿地下水流向依次层叠设置的第一石灰石层、第一活性炭层、铁屑层、覆有纳米陶瓷过滤膜的多孔陶瓷过滤板、第二活性炭层及第二石灰石层;所述出水箱顶部设取样口。本发明装置使用的介质材料具有制备简单、原料来源丰富,成本低廉,使用寿命长的特点,对地下水中BOD、COD、重金属、硝酸盐均具有良好的去除效果,提高可渗透反应墙对污染地下水的修复能力。


权利要求书

    1.一种用于地下水处理的可渗透反应墙装置,其特征在于,包括:

沿地下水流向依次设置的进水箱、可渗透反应箱及出水箱,且进水箱、可渗透反应箱及出水箱之间设置有网状格栅;

    进水箱相对可渗透反应箱另一侧壁上设有进水口,顶部设取样口;

可渗透反应箱内设反应介质层,所述反应介质层包括沿地下水流向依次层叠设置的第一石灰石层、第一活性炭层、铁屑层、覆有纳米陶瓷过滤膜的多孔陶瓷过滤板、第二活性炭层及第二石灰石层;

     所述出水箱顶部设取样口。

    2.根据权利要求1所述的用于地下水处理的可渗透反应墙装置,其特征在于,还包括一流量计,设置于进水箱进水管道上。

    3.根据权利要求1所述的用于地下水处理的可渗透反应墙装置,其特征在于,还包括取样插头,分别插设于所述进水箱取样口及出水箱取样口,所述取样插头包括滤管、一端插设于滤管内的取样针头以及连接于所述取样针头另一端的控制开关。

    4.根据权利要求1所述的用于地下水处理的可渗透反应墙装置,其特征在于,所述进水箱的尺寸为200cm×95cm×200cm,所述可渗透反应箱的尺寸为320cm×95cm×150cm,所述出水箱的尺寸为80cm×95cm×150cm。

    5.根据权利要求1所述的用于地下水处理的可渗透反应墙装置,其特征在于,所述可渗透反应箱内反应介质层中铁屑、活性炭、纳米陶瓷过滤板和石灰石的体积比为2:1:1:1。

    6.根据权利要求1或5所述的用于地下水处理的可渗透反应墙装置,其特征在于,所述可渗透反应箱内反应介质层厚度为100~130cm。

    7.根据权利要求1或5所述的用于地下水处理的可渗透反应墙装置,其特征在于,所述可渗透反应箱内反应介质层的孔隙率为0.36~0.40。

说明书

一种用于地下水处理的可渗透反应墙装置

技术领域

    本发明属于地下水污染控制修复及环境保护技术领域,具体地,涉及一种用于地下水处理的可渗透反应墙装置。

背景技术

    目前,世界范围内的地下水污染问题日益严重,很多国家都已经投入大量的人力物力对污染的地下水进行修复。

    渗透反应墙(Permeable Reactive Barrier,PRB)技术是一种为达到一定环境污染治理目标而将特定反应介质安装在地面以下的污染处理系统,它阻断污染带、将其中的污染物转化为环境可接受的形式,但不破坏地下水流动性。具体地说,PRB 中含有降解各种污染物的氧化还原剂、螯合剂、络合剂、吸附剂、沉淀剂或微生物,当污染物随水流通过预先设置好的PRB 时,各种污染物可以被还原、吸附、沉淀或生物降解。

    大量研究证实,PRB可以除去地下水中共存的重金属(如Cr6+)和有机物(如苯、乙苯、二甲苯和多氯联苯),PRB对地下水中的污染物去除种类和和效果主要与渗透介质材料有关。

目前,可用于PRB渗透介质的材料主要有羟基磷酸盐、黏土矿物、过氧化镁、过氧化钙、零价铁、Fe( )矿物及双金属等,实际应用中,可以根据所处理的地下水的污染物种类选择不同的介质材料。

    PRB 技术在修复地下水的多种污染中得到了研究和实际应用,但目前该技术仍然面临一些缺陷和问题,影响着该技术的进一步发展和实际应用的推广。

    在PRB墙体材料安装在地下之前,需要在室内进行试验,即根据当地实际的地下水中污染物种类和含量,利用模拟装置,确定反应材料的种类、配比和墙体厚度。现有工业园区内水质相当复杂,一般含有高浓度有机物、重金属、悬浮物、氨氮等,而现有的可渗透反应墙墙体材料配方单一,可处理的污染物类型少,要大大增加墙体厚度才能保证对复杂污水的处理效率,应用建设成本较高。虽然现在出现了一些复合配方的可渗透反应墙墙体材料,但是往往只能针对少数污染物(如氨氮或有机物)进行有效处理,对于成分复杂的水体依然难以达到较高的综合处理效果。

发明内容

    为解决上述问题,本发明的目的在于提供一种用于地下水处理的可渗透反应墙装置,克服现有技术综合处理效率低的缺陷,提供一种成本低、综合处理效率高、单位体积可处理污水量大的可渗透反应墙装置。

为达到上述目的,本发明采用的技术方案是:

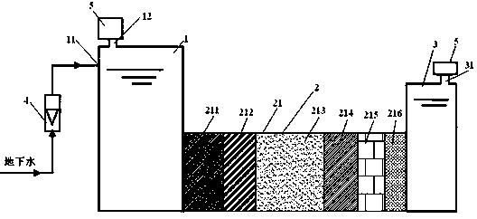
    一种用于地下水处理的可渗透反应墙装置,包括:沿地下水流向依次设置的进水箱、可渗透反应箱及出水箱,且进水箱、可渗透反应箱及出水箱之间设置有网状格栅;进水箱相对可渗透反应箱另一侧壁上设有进水口,顶部设取样口;可渗透反应箱内设反应介质层,所述反应介质层包括沿地下水流向依次层叠设置的第一石灰石层、第一活性炭层、铁屑层、覆有纳米陶瓷过滤膜的多孔陶瓷过滤板、第二活性炭层及第二石灰石层;所述出水箱顶部设取样口。

进一步,还包括一流量计,设置于进水箱进水管道上。

    另,还包括取样插头,分别插设于所述进水箱取样口及出水箱取样口,所述取样插头包括滤管、一端插设于滤管内的取样针头以及连接于所述取样针头另一端的控制开关。

    另有,所述进水箱的尺寸为200cm×95cm×200cm,所述可渗透反应箱的尺寸为320cm×95cm×150cm,所述出水箱的尺寸为80cm×95cm×150cm。

再,所述可渗透反应箱内反应介质层中铁屑、活性炭、纳米陶瓷过滤板和石灰石的体积比为2:1:1:1。

    再有,所述可渗透反应箱内反应介质层厚度为100~130cm。

    且,所述可渗透反应箱内反应介质层的孔隙率为0.36~0.40。

    其中,所述可渗透反应箱中覆有纳米陶瓷过滤膜的多孔陶瓷过滤板的制备方法参见中国专利CN101092307A。

在本发明的可渗透反应箱中:

    铁屑通过自身的吸附作用来去除部分CODCr。当零价铁发生反应时,除提供电子外,所形成的氧化铁水合物具有较强的吸附、絮凝活性,降低出水污染物的浓度。同时,铁屑及铁屑内电解产生的Fe2+、[H]的还原作用还提高了地下水的可生化性。另外,铁是微生物生长所必需的微量元素,经反应后能促进系统中微生物的生长,有利于有机污染物的生物降解,进一步降低出水的CODCr。再者,反应介质中的活性炭具有内表面积大、孔穴多、吸附和离子交换能力强等优点,具有显著的消毒净化功能,同时释放氧离子,可循环使用,无二次污染。由于PRB系统反应墙内含有一种富有纳米陶瓷过滤膜的多孔陶瓷过滤板,具有超强的吸附性能,进一步吸收了地下水中的污染物。

    当地下水流经PRB系统时,其中的大分子有机氮被介质所截留,同时活性炭对氨氮以及重金属具有很强的吸附与离子交换功能,能大量吸附NH4+。此外,系统中微生物的硝化反硝化作用以及铁屑的化学还原作用也是TN被去除的重要原因。

去除TP则是利用化学吸附以及微生物的作用。铁屑通过电解作用会产生Fe()和Fe(),当它们与磷酸根反应时便会产生磷酸铁或羟基磷酸铁的沉淀物,从而达到去除磷的效果。且产生的氧化铁水合物通过其本身具有的吸附絮凝活性是可以吸附水中的游离状态的磷的。另外经分析测定,地下水中含有一定浓度的Mg2+,能和PO43-、NH4+反应生成磷酸铵镁沉淀而去除一定量的PO43-、NH4+。

    Fe(0)可与硝酸根离子反应使其迅速被还原。另外,铁是微生物生长所必需的微量元素,因此当地下水经过铁屑的处理以后,能促进系统中微生物的生长,硝酸盐可以被微生物降解。PRB系统反应墙中含有纳米多孔陶瓷过滤板,其独特的吸附材料和系统构造对硝酸盐类有较好的去除效果。

    在PRB系统中,铁屑是一种的主要的反应介质,它在电解质溶液中会发生内电解。在对系统进、出水中的铁离子浓度进行跟踪监测后,发现进水铁离子浓度的平均值为0.39mg/L,出水的为0.64mg/L,出水铁离子浓度比进水高出了64%。由此可以得出初步结论,铁屑的内电解和净化材料的吸附作用能在一定程度上去除PRB系统中的污染物,提高水质。

本发明的有益效果在于:

    本发明的介质材料具有制备简单、原料来源丰富,成本低廉,使用寿命长的特点,使用这种材料的可渗透反应墙对地下水中BOD、COD、重金属、硝酸盐均具有良好的去除效果,大大提高可渗透反应墙对污染地下水的修复能力,该材料不会产生有毒金属重新活化和地下水的新生污染问题。本装置的使用寿命为30-50年,可渗透反应箱内的反应介质的更新时间为5-6年。


Copyright © 2024   江苏新仁源环保工程有限公司  www.jshchb.cn  版权所有  

苏ICP备09002996号